Nội dung bài viết
ToggleGiới thiệu về SICK FLOWSIC600:
SICK FLOWSIC600 là một thiết bị đo lưu lượng khí tiên tiến sử dụng công nghệ siêu âm, đặc biệt được thiết kế để cung cấp các phép đo chính xác và ổn định cho khí tự nhiên và các khí công nghiệp. FLOWSIC600 được SICK AG phát triển với nhiều tính năng vượt trội, phù hợp cho các ứng dụng yêu cầu độ chính xác cao, chẳng hạn như trong lĩnh vực dầu khí, hóa chất, và các ứng dụng giám sát và phân phối khí.
Tổng Quan Về SICK FLOWSIC600:
Công Nghệ Đo Siêu Âm Không Tiếp Xúc:
Sử dụng công nghệ siêu âm, FLOWSIC600 có thể đo lưu lượng mà không ảnh hưởng đến tốc độ dòng chảy hay làm gián đoạn dòng khí, giúp đảm bảo độ chính xác và ổn định.
Thiết bị sử dụng nguyên tắc thời gian truyền (time-of-flight) để xác định vận tốc và lưu lượng khí, bất kể áp suất và nhiệt độ của dòng khí.
Thiết Kế Bền Bỉ và Chịu Được Khí Hậu Khắc Nghiệt:
Với vỏ bảo vệ IP67 và các vật liệu chịu nhiệt, FLOWSIC600 hoạt động hiệu quả trong điều kiện khắc nghiệt, thích hợp cho các khu vực ngoài trời và môi trường công nghiệp khó khăn.
Thiết bị có khả năng chống ăn mòn và chịu áp suất cao, giảm thiểu việc bảo trì và đảm bảo tuổi thọ lâu dài.
Đo Lưu Lượng Hai Chiều:
FLOWSIC600 hỗ trợ đo lưu lượng khí theo hai hướng, rất tiện lợi cho các quy trình yêu cầu đo đa hướng hoặc dòng khí thay đổi chiều.
Tích Hợp Dễ Dàng và Linh Hoạt:
Với tín hiệu đầu ra phổ biến như 4-20 mA và RS485/MODBUS, thiết bị này dễ dàng tích hợp vào các hệ thống tự động hóa và điều khiển hiện có.
Tính Chính Xác Cao:
FLOWSIC600 có độ chính xác đo cao và ổn định lâu dài, phù hợp với các ứng dụng yêu cầu độ chính xác tuyệt đối như đo lường và giao nhận khí giữa các trạm phân phối.
Ứng Dụng Chính Của SICK FLOWSIC600:
Ngành Dầu Khí: FLOWSIC600 là một lựa chọn lý tưởng cho các trạm đo lưu lượng khí, đường ống dẫn khí và các điểm giao nhận khí trong ngành dầu khí.
Hóa Chất và Công Nghiệp Khí: Được sử dụng để đo lưu lượng khí công nghiệp, khí hóa lỏng, và các khí đặc biệt trong ngành hóa chất.
Phân Phối Khí Tự Nhiên: Giám sát và đo lường chính xác lưu lượng khí tự nhiên tại các điểm phân phối và truyền tải.
Ưu Điểm Của FLOWSIC600:
Đo Lường Chính Xác và Ổn Định Cao: Với công nghệ siêu âm tiên tiến, FLOWSIC600 đảm bảo độ chính xác cao và không bị ảnh hưởng bởi các biến đổi áp suất và nhiệt độ.
Bảo Trì Dễ Dàng và Độ Tin Cậy Cao: Thiết kế bền bỉ, giảm thiểu nhu cầu bảo trì và đảm bảo hoạt động liên tục trong thời gian dài.
Khả Năng Đo Đa Hướng: Đo lường hai chiều linh hoạt, thích hợp cho các hệ thống phân phối và giao nhận khí.
Nhược Điểm Của FLOWSIC600:
Chi Phí Đầu Tư Ban Đầu Cao: Giá thành của FLOWSIC600 có thể cao hơn so với các thiết bị đo lưu lượng truyền thống, tuy nhiên, chi phí này tương xứng với hiệu quả và độ chính xác mà thiết bị mang lại.
Cần Kỹ Thuật Lắp Đặt Chuyên Nghiệp: Để đảm bảo hiệu quả đo, việc lắp đặt FLOWSIC600 đòi hỏi sự chính xác và có thể cần đội ngũ kỹ thuật chuyên nghiệp.
Mua các sản phẩm của SICK AG ở đâu?:
Thành Nguyễn hiện là đơn vị nhập khẩu và nhà phân phối chính hãng SICK AG.
Hàng hóa được bảo hành chính hãng 12 tháng, tư vấn kỹ thuật miễn phí, đầy đủ giấy chứng nhận xuất xứ, chất lượng từ Phòng thương mại và từ Hãng sản xuất
Nếu Quý khách có nhu cầu tư vấn và báo giá cho dự án mới, mua thay thế cho nhà máy, hãy liên hệ ngay chúng tôi qua số Hotline 0905352837 (ZALO) – Mr Quý để được hỗ trợ tư vấn sớm nhất.
Trân trọng cảm ơn Quý khách đã ghé thăm Website của chúng tôi !
Thông số kỹ thuật của SICK FLOWSIC600:
Phạm Vi Đo Lưu Lượng:
Đo lưu lượng khí từ tốc độ thấp đến cao, thích hợp cho nhiều ứng dụng.
Dải đo: 0.2 – 30 m/s (tùy thuộc vào yêu cầu ứng dụng cụ thể).
Kích Thước Đường Ống:
Hỗ trợ nhiều kích thước đường ống, từ DN50 đến DN1200 (2 inch đến 48 inch).
Thiết kế linh hoạt để đáp ứng nhu cầu lắp đặt đa dạng.
Sai Số Đo Lường:
Độ chính xác: ±0.5% (tùy thuộc vào cấu hình và điều kiện đo).
Độ lặp lại cao, thường đạt đến ±0.1%.
Dải Áp Suất và Nhiệt Độ Hoạt Động:
Áp suất làm việc: từ 0 đến 250 bar.
Dải nhiệt độ hoạt động: -40°C đến +80°C.
Có khả năng chịu nhiệt và áp suất cao, thích hợp cho các môi trường khắc nghiệt.
Công Nghệ Đo Lưu Lượng:
Công nghệ đo siêu âm thời gian truyền (time-of-flight), cung cấp phép đo không tiếp xúc và không gây cản trở dòng chảy.
Đo lưu lượng hai chiều (bi-directional flow measurement), giúp đo chính xác lưu lượng khí trong cả hai hướng.
Tín Hiệu Đầu Ra:
Đầu ra analog: 4-20 mA.
Đầu ra kỹ thuật số: RS485/MODBUS, HART.
Có thể kết nối dễ dàng với hệ thống điều khiển và giám sát.
Cấp Bảo Vệ:
IP67, đảm bảo chống nước và chống bụi, thích hợp cho các môi trường khắc nghiệt.
Chứng nhận ATEX, IECEx để sử dụng trong các khu vực dễ cháy nổ.
Nguồn Điện:
Điện áp: 24 V DC hoặc theo yêu cầu.
Tính Năng Bảo Trì và Hiệu Chuẩn:
Dễ dàng bảo trì nhờ thiết kế module.
Thiết bị có thể được hiệu chuẩn tại chỗ để đảm bảo độ chính xác theo yêu cầu của khách hàng.
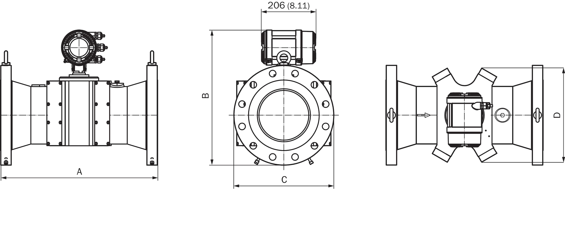
Một số hình ảnh và model của SICK FLOWSIC600:

















Đánh giá
Chưa có đánh giá nào.